search
f
สำนักงานทางหลวงที่ 13
Office of Highways 13
วิสัยทัศน์ : มุ่งสู่ความเป็นองค์กรชั้นนำด้านงานทาง เชื่อมโยงการขนส่งอย่างยั่งยืน
หน้าแรก
แนะนำหน่วยงาน
ประวัติองค์กร
อัตรากำลัง
หน่วยงานที่เกี่ยวข้อง
คณะผู้บริหาร
หน้าที่เเละความรับผิดชอบ
โครงสร้างการบริหารงาน
หน่วยงานภายใน
ฝ่ายบริหารงานทั่วไป
ส่วนแผนงาน
ส่วนสำรวจและออกแบบ
ส่วนกฎหมายและกรรมสิทธิ์ที่ดิน
ส่วนตรวจสอบและวิเคราะห์ทางวิศวกรรม
ส่วนเครื่องกล
ส่วนควบคุมงานก่อสร้าง
ส่วนอำนวยความปลอดภัย
ส่วนเทคโนโลยีสารสนเทศ
ส่วนไฟฟ้า
ระบบบริหาร
ระบบสารสนเทศโครงข่ายทางหลวง (RoadNet) V.3
ระบบบริหารงานบำรุงทาง (TPMS)
ระบบบริหารจัดการทรัพย์สินทางหลวง (RAMS)
ระบบติดตามการบริหารงานบำรุงปกติ (RMMS)
ระบบบริหารแผนงานทางหลวง (PN2021)
ระบบบริหารจัดการภัยพิบัติ (HDMS)
ระบบสารสนเทศอุบัติเหตุบนทางหลวง (HAIMS2)
ระบบสารสนเทศปริมาณจราจรบนทางหลวง (TIMS)
ระบบบริหารจัดการความปลอดภัยทางถนน (HSMS)
ติดต่อเรา
ประชาสัมพันธ์
ข่าวการจัดซื้อจัดจ้าง
ข่าวการรับสมัครงาน
ข่าวประกาศเปิด-ปิดทาง
บริการประชาชน
การให้บริการข้อมูลข่าวสารผ่านสายด่วนกรมทางหลวง
แอปบริการประชาชน
ท่องทางหลวง
M-FLOW
M-Pass
M-Traffic
Highways Traffic
ร้องเรียนร้องทุกข์
คู่มือสำหรับประชาชน
เอกสารเผยแพร่
การส่งเสริมองค์กรคุณธรรม สำนักงานทางหลวงที่ 13 ประจำปี พ.ศ.2568
องค์ความรู้ (KM)
ปฏิทินเครื่องจักร สทล.13
วิสัยทัศน์ : มุ่งสู่ความเป็นองค์กรชั้นนำด้านงานทาง เชื่อมโยงการขนส่งอย่างยั่งยืน
หน้าแรก
/
เนื้อหาเพจ : ส่วนกฎหมายและกรรมสิทธิ์ที่ดิน
ส่วนกฎหมายและกรรมสิทธิ์ที่ดิน
ลงวันที่ 04/02/2562
หน้าที่และความรับผิดชอบ
ดำเนินการจัดกรรมธรรมสิทธิ์ที่ดินในเขตทาง
ดำเนินงานจัดหาและรักษาที่ดินสงวนนอกเขตทาง
ควบคุมและดำเนินการเกี่ยวกับเขตทางหลวง ที่ดิน และทรัพย์สิน
กำกับ ติดตามให้คำปรึกษาและสนับสนุนการดำเนินการตามกฎหมายว่าด้วยทางหบวงแก่แขวงทางหลวง
พิจารณาอนุมัติการขอทำนิติกรรมตามที่ได้รับมอบหมาย
ออกแบบแนะนำโครงสร้างชั้นทาง
ดำเนินงานคดีทางแพ่งและทางอาญา
ดำเนินการด้านวินัย
เร่งรัด ติดตาม แก้ไขปัญหาและรายงานผลการปฏิบัติงาน
เสนอแนะในการพัฒนากฎหมายและระเบียบที่เกี่ยวข้อง
เอกสารดาวน์โหลด
คำอธิบาย
จำนวนดาวน์โหลด
ดาวน์โหลด
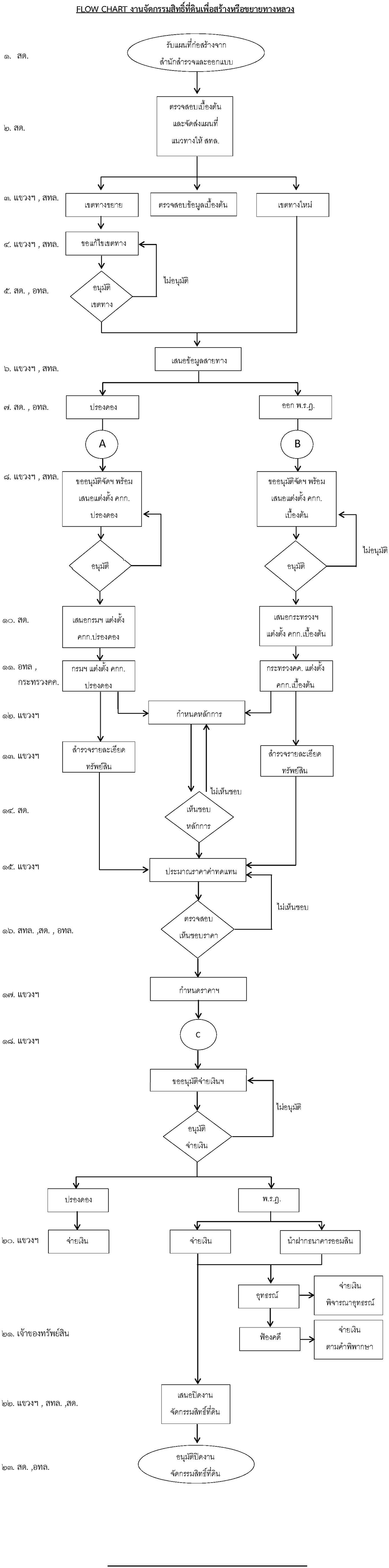
FLOW CHART การจัดกรรมสิทธิ์ที่ดินเพื่อสร้างหรือขยายทางหลวง
1823
ดาวน์โหลด
โครงการจัดกรรมสิทธิ์ สาย 6
1758
ดาวน์โหลด
โครงการจัดกรรมสิทธิ์ สาย 81
1686
ดาวน์โหลด
'
Copyright © 2017 Department of Highway. All Right Reserved.
Total Visitor: 88,404 Today's Visitor: 358